Каталог
Заказать звонок
Меню
техника и оборудование +7 (4162) 578-000
запасные части +7 (4162) 578-500
стропная и канатная продукция, электроды, шины +7 (4162) 500-650
сервис +7 (914) 060-30-25
Email:
Каталог
МАСЛО С ИНЖЕНЕРНОЙ ПОДДЕРЖКОЙ
ПЕРЕХОДИ НА STOIL
Начать переход
Инженер STOIL поможет принять решение,
оптимальное для вашего парка
техника и оборудование +7 (4162) 578-000
запасные части +7 (4162) 578-500
стропная и канатная продукция, электроды, шины +7 (4162) 500-650
сервис +7 (914) 060-30-25

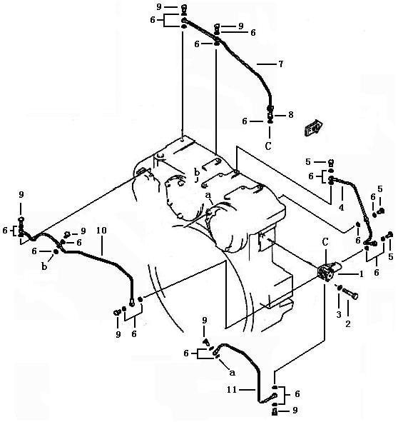
Запчасти Картер маховика и отбор мощности в сборе (2 4)

9
Болт
9
Болт
6
Шайба 10
6
Шайба 10
6
Шайба 10
6
Шайба 10
7
Трубка масляная
8
Штуцер трубки винтовой
5
Болт
6
Шайба 10
4
Трубка масляная
5
Болт
6
Шайба 10
6
Шайба 10
6
Шайба 10
5
Болт
1
Фланец
3
Шайба 10
2
Болт M10×30
9
Болт
9
Болт
9
Болт
9
Болт
9
Болт
6
Шайба 10
6
Шайба 10
6
Шайба 10
6
Шайба 10
10
Трубка масляная
6
Шайба 10
6
Шайба 10
Номер
Наименование
1
T24A.00-12[1]
НаименованиеФланец
2
GB5783
НаименованиеБолт M10×30
3
GB93
НаименованиеШайба 10
4
T24A.00.5[1]
НаименованиеТрубка масляная
5
07206-10610
НаименованиеБолт
6
JB982
НаименованиеШайба 10
7
T24A.00.2[1]
НаименованиеТрубка масляная
8
07211-50610
НаименованиеШтуцер трубки винтовой
9
T24A.00-11
НаименованиеБолт
10
T24A.00.1[1]
НаименованиеТрубка масляная
11
T24A.00.3[1]
НаименованиеТрубка масляная