Каталог
Заказать звонок
Меню
техника и оборудование +7 (4162) 578-000
запасные части +7 (4162) 578-500
стропная и канатная продукция, электроды, шины +7 (4162) 500-650
сервис +7 (914) 060-30-25
Email:
Каталог
МАСЛО С ИНЖЕНЕРНОЙ ПОДДЕРЖКОЙ
ПЕРЕХОДИ НА STOIL
Начать переход
Инженер STOIL поможет принять решение,
оптимальное для вашего парка
техника и оборудование +7 (4162) 578-000
запасные части +7 (4162) 578-500
стропная и канатная продукция, электроды, шины +7 (4162) 500-650
сервис +7 (914) 060-30-25

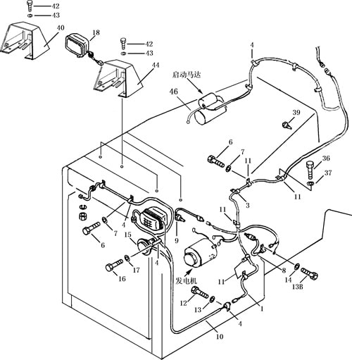
Электрическая система 12

1
wiring harness
3
clip
4
clip
4
clip
4
clip
4
clip
6
bolt
6
bolt
7
washer
11
clip
7
washer
9
sensor, water temperature
10
wiring harness
14
washer
8
sensor, engine oil pressure
13
washer
12
bolt
11
clip
17
washer
16
bolt
15
horn
11
clip
11
clip
37
washer
36
bolt
39
air indicator
42
bolt
43
01010-51220
40
cover R.H
18
lamp ass’y
42
bolt
43
washer
44
cover L.H
46
wire, earth
Номер
Наименование
1
17Y-07B-02000
Наименованиеwiring harness
3
08035-02514
Наименованиеclip
4
08035-01512
Наименованиеclip
6
01010-51220
Наименованиеbolt
7
01643-31232
Наименованиеwasher
8
D2300-00000
Наименованиеsensor, engine oil pressure
9
D2320-00000
Наименованиеsensor, water temperature
10
23Y-07B-07000
Наименованиеwiring harness
11
08035-02510
Наименованиеclip
12
01010-51220
Наименованиеbolt
13
01643-31232
Наименованиеwasher
14
01643-31032
Наименованиеwasher
15
D2711-10500
Наименованиеhorn
16
01010-50820
Наименованиеbolt
17
01643-30823
Наименованиеwasher
18
D2401-07000
Наименованиеlamp ass’y
36
01010-51050
Наименованиеbolt
37
01643-31032
Наименованиеwasher
39
D2160-00800
Наименованиеair indicator
40
23Y-07B-13000
Наименованиеcover R.H
42
01010-51220
Наименованиеbolt
43
01643-31232
Наименованиеwasher
44
23Y-07B-12000
Наименованиеcover L.H
45
16Y-07C-10000
Наименованиеplate
46
23Y-07B-08000
Наименованиеwire, earth